STA-AM30X লেজার রেঞ্জিং মডিউল 10 মিটার থেকে 4000 মিটার পর্যন্ত সুনির্দিষ্ট দূরত্ব পরিমাপ করতে টাইম-অফ-ফ্লাইট (TOF) প্রযুক্তি ব্যবহার করে। এটি 1Hz থেকে 10Hz এর রেঞ্জিং ফ্রিকোয়েন্সি সমর্থন করে এবং একটি UART (TTL 3.3V) যোগাযোগ ইন্টারফেস বৈশিষ্ট্যযুক্ত। ফাংশনগুলির মধ্যে একক-শট রেঞ্জিং, ক্রমাগত রেঞ্জিং, প্রথম/শেষ লক্ষ্য স্বীকৃতি, এবং মাল্টি-টার্গেট রেঞ্জিং, এটি উচ্চ-নির্ভুল দূরত্ব পরিমাপ অ্যাপ্লিকেশনের জন্য উপযুক্ত করে তোলে।
| প্রকল্প | কর্মক্ষমতা সূচক | |
| মডেল | STA-AM30X | |
| কর্মক্ষমতা সূচক | লেজার তরঙ্গদৈর্ঘ্য | 1535±5nm |
| চোখের নিরাপত্তা | ক্লাস Ⅰ (IEC 60825-1) | |
| ডাইভারজেন্স অ্যাঙ্গেল | ≤0.6 mrad | |
| লেজার শক্তি | ≥100 μJ | |
| ফিল্ড অফ ভিউ (FOV) | ~ 7. 4mrad | |
| সর্বাধিক পরিমাপ পরিসীমা (দৃশ্যমানতা > 8 কিমি) | ≥ 4000m @60% প্রতিফলন, বিল্ডিং টার্গেট | |
| ≥3000m @30% প্রতিফলন, 2.3×2.3m লক্ষ্য | ||
| ≥1500m @30% প্রতিফলন, 0.5×1.7m লক্ষ্য | ||
| ≥800m @30% প্রতিফলন, 0.2×0.3m লক্ষ্য | ||
| ন্যূনতম পরিসর | ≤10 মি | |
| 4.1.2 পাওয়ার-অন ইন্সপেকশন | 1Hz ~10Hz | |
| মাল্টি-টার্গেট ডিটেকশন | 3 টার্গেট পর্যন্ত | |
| রেঞ্জিং নির্ভুলতা | ±1 মি | |
| নির্ভুলতার হার | ≥98% | |
| মিথ্যা অ্যালার্ম রেট | ≤1% | |
| বৈদ্যুতিক বিশেষ উল্লেখ | ইন্টারফেসের ধরন | UART(TTL 3.3V) |
| পাওয়ার সাপ্লাই ভোল্টেজ | DC 3~5V | |
| স্ট্যান্ডবাই পাওয়ার খরচ (সম্পূর্ণ তাপমাত্রা পরিসীমা) | ≤10mW (পাওয়ার অন টান কম) | |
| ≤0.8W (পাওয়ার অন উচ্চ টানা) | ||
| অপারেটিং শক্তি খরচ (সম্পূর্ণ তাপমাত্রা পরিসীমা) | 5V.≤0.9W@1Hz | |
| 5V, <1. 5W@10Hz | ||
| সর্বোচ্চ শক্তি খরচ | <3W@5V | |
| শুরুর সময় | ≤350ms (স্টার্টআপের পরে, প্রতিক্রিয়া সময় ≤20ms) | |
| শারীরিক বৈশিষ্ট্য | ওজন | ≤ 141 গ্রাম |
| মাত্রা | ≤ 27×25×15.5mm(L×W×H) | |
| শক | 1200 গ্রাম, 1 মি | |
| কম্পন | 5~50~5 Hz, 1 অষ্টক/মিনিট, 2.5g | |
| পরিবেশগত অভিযোজনযোগ্যতা | অপারেটিং তাপমাত্রা | -40 ~ +70℃ |
| স্টোরেজ তাপমাত্রা | -45 ~ +70℃ | |
| নির্ভরযোগ্যতা | MTBF>1500h | |
প্রস্তাবিত মাউন্টিং বন্ধনী মাত্রা নিম্নরূপ:
ইনস্টলেশন ডায়াগ্রাম:
ইন্টারফেসের ধরন: UART (TTL 3.3V)
সংযোগকারী মডেল: FWF08002-S06B13W5M (টেসগা সংযোগকারী)
| পিন | সংজ্ঞা | বর্ণনা | |
| 1 | POWER_ON | মডিউল পাওয়ার সুইচ, TTL 3.3V স্তর; মডিউল চালু (>2.7V), মডিউল বন্ধ (<0.3V) | |
| 2 | UART_RX | সিরিয়াল পোর্ট রিসিভার, TTL 3.3V স্তর | |
| 3 | UART_TX | সিরিয়াল পোর্ট ট্রান্সমিটার, TTL 3.3V স্তর | |
| 4 | NC | ||
| 5 | পাওয়ার পজিটিভ | পাওয়ার সাপ্লাই, 3~5V | |
| 6 | জিএনডি | সিরিয়াল পোর্ট গ্রাউন্ড |
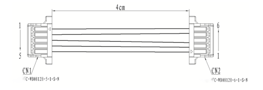
তারের সংজ্ঞা:
ম্যাচিং তারের পিনআউট:
| CN1(C-WBO812H-5-1-S-N) | CN2(C-WBO812H-6-1-S-N) | তারের স্পেসিফিকেশন | রঙ |
| 1 | 6 | AWG32 | কালো |
| 2 | 5 | AWG32 | লাল |
| 3 | 3 | AWG32 | হলুদ |
| 4 | 2 | AWG32 | সবুজ |
| 5 | 1 | AWG32 | সাদা |
1 প্রোটোকল বিবরণ
1.1 যোগাযোগের হার এবং বিন্যাস
| বিন্যাস মান | বড রেট: 115200bps (ফ্যাক্টরি ডিফল্ট) / 57600bps / 38400bps / 9600bpsByte ডেটা ফরম্যাট: 1 স্টার্ট বিট, 8 ডেটা বিট, 1 স্টপ বিট, কোনো যাচাইকরণ নেই |
1.2 মৌলিক প্যাকেট বিন্যাস
| বিভাগের বিবরণ | HGJX011 | মান পরিসীমা | মন্তব্য |
| ফ্রেম হেডার | 2 | 0xEE 0x16 | স্থির মান |
| ডেটা দৈর্ঘ্য | 1 | 2~7 | ডেটা দৈর্ঘ্য হল তিনটি অংশে মোট বাইটের সংখ্যা: ডিভাইস কোড, কমান্ড কোড এবং কমান্ড প্যারামিটার |
| সরঞ্জাম কোড | 1 | 0x03 | স্থির মান, LRF S সিরিজ রেঞ্জিং মডিউল |
| কমান্ড কোড | 1 | 0~255 | বর্তমান নিয়ন্ত্রণ কমান্ডের নিয়ন্ত্রণ বস্তু নির্দেশ করে |
| কমান্ড পরামিতি | 0~4 | 0~255 | বর্তমান নিয়ন্ত্রণ কমান্ডের নিয়ন্ত্রণ বস্তুর পরামিতি নির্দেশ করে |
| চেকসাম | 1 | 0~255 | চেকসাম হল ইকুইপমেন্ট কোড, কমান্ড কোড এবং কমান্ড প্যারামিটারের তিনটি অংশের সমস্ত বাইট ডেটার সমষ্টি, নিচের 8 বিট সহ |
1.3 নিয়ন্ত্রণ কমান্ড (সিস্টেম→রেঞ্জিং মডিউল)
| কমান্ড কোড | ব্যাখ্যা কর | কমান্ড প্যারামিটার বাইট |
| 0x01 | সরঞ্জাম স্ব পরিদর্শন | 0 |
| 0x02 | একক রেঞ্জিং | 0 |
| 0x03 | প্রথম/শেষ/মাল্টিপল টার্গেট সেট করুন | 1 |
| 0x04 | ক্রমাগত রেঞ্জিং | 0 |
| 0x05 | রেঞ্জিং বন্ধ করুন | 0 |
| 0xA0 | লেজার রেঞ্জিং মডিউলের বড রেট সেট করুন | 4 |
| 0xA1 | ক্রমাগত রেঞ্জিং ফ্রিকোয়েন্সি সেট করুন | 2 |
| 0xA2 | ন্যূনতম গেটিং দূরত্ব সেট করুন | 2 |
| 0xA3 | ন্যূনতম গেটিং দূরত্ব জিজ্ঞাসা করুন | 0 |
| 0xA4 | সর্বোচ্চ গেটিং দূরত্ব | 2 |
| 0xA5 | সর্বোচ্চ গেটিং দূরত্ব জিজ্ঞাসা করুন | 0 |
| 0xA6 | FPGA সফ্টওয়্যার সংস্করণ নম্বর জিজ্ঞাসা করুন | 0 |
| 0xA7 | MCU সফ্টওয়্যার সংস্করণ নম্বর জিজ্ঞাসা করুন | 0 |
| 0xA8 | হার্ডওয়্যার সংস্করণ নম্বর জিজ্ঞাসা করুন | 0 |
| 0xA9 | প্রশ্ন Sn নম্বর | 0 |
| 0x90 | আলো আউটপুট মোট সময় | 0 |
| 0x91 | এই সময় পাওয়ার অন এবং লাইট আউট করার জন্য জিজ্ঞাসা করুন | 0 |
1.4 প্রতিক্রিয়া ডেটা (বিস্তৃত মডিউল→সিস্টেম)
| কমান্ড কোড | ব্যাখ্যা কর | কমান্ড প্যারামিটার বাইট |
| 0x01 | সরঞ্জাম স্ব পরিদর্শন | 4 |
| 0x02 | একক রেঞ্জিং | 7 |
| 0x03 | প্রথম/শেষ/মাল্টিপল টার্গেট সেট করুন | 0 |
| 0x04 | ক্রমাগত রেঞ্জিং | 4 |
| 0x05 | রেঞ্জিং বন্ধ করুন | 0 |
| 0x06 | রেঞ্জিং অস্বাভাবিকতা (শুধুমাত্র যখন রেঞ্জিং অস্বাভাবিকতা কমান্ডের অবস্থা অস্বাভাবিক হয়, তখন একক রেঞ্জিং বা ক্রমাগত রেঞ্জিংয়ের প্রতিক্রিয়া কমান্ড ফেরত দেওয়ার পরে কমান্ডটি ফেরত দেওয়া হয়) | 4 |
| 0xA0 | লেজার রেঞ্জিং মডিউলের বড রেট সেট করুন | 4 |
| 0xA1 | ক্রমাগত রেঞ্জিং ফ্রিকোয়েন্সি সেট করুন | 2 |
| 0xA2 | ন্যূনতম গেটিং দূরত্ব সেট করুন | 2 |
| 0xA3 | ন্যূনতম গেটিং দূরত্ব জিজ্ঞাসা করুন | 2 |
| 0xA4 | সর্বোচ্চ গেটিং দূরত্ব | 2 |
| 0xA5 | সর্বোচ্চ গেটিং দূরত্ব জিজ্ঞাসা করুন | 2 |
| 0xA6 | FPGA সফ্টওয়্যার সংস্করণ নম্বর জিজ্ঞাসা করুন | 4 |
| 0xA7 | MCU সফ্টওয়্যার সংস্করণ নম্বর জিজ্ঞাসা করুন | 4 |
| 0xA8 | হার্ডওয়্যার সংস্করণ নম্বর জিজ্ঞাসা করুন | 4 |
| 0xA9 | প্রশ্ন Sn নম্বর | 3 |
| 0x90 | আলো আউটপুট মোট সময় | 3 |
| 0x91 | এই সময় পাওয়ার অন এবং লাইট আউট করার জন্য জিজ্ঞাসা করুন | 3 |
1.5 অপারেশন প্রক্রিয়া
রেঞ্জিং মডিউলটি চালিত হওয়ার পরে, এটি ডিফল্টরূপে স্ট্যান্ডবাই মোডে থাকে। এটিকে প্রায় 0.5 সেকেন্ডের জন্য মডিউল পাওয়ার সুইচ (পাওয়ার_অন টানা হয়) সক্ষম করতে হবে (ড্রাইভিং ক্যাপাসিটর চার্জিং সম্পূর্ণ করে), এবং তারপরে নীচের 6.2-এ সমস্ত কমান্ড অপারেশন করা যেতে পারে।
2 নির্দিষ্ট চুক্তি
2.1 সরঞ্জাম স্ব পরিদর্শন
2.1.1 লেজার রেঞ্জিং মডিউলে পাঠান:
| বাইট | 0 | 1 | 2 | 3 | 4 | 5 |
| বর্ণনা করুন | 0xEE | 0x16 | 0x02 | 0x03 | 0x01 | 0x04 |
2.1.2 লেজার রেঞ্জিং মডিউল রিটার্ন:
| বাইট | 0 | 1 | 2 | 3 | 4 | 5 | 6 | 7 | 8 | 9 |
| বর্ণনা করুন | 0xEE | 0x16 | 0x06 | 0x03 | 0x01 | অবস্থা3 | স্ট্যাটাস2 | স্ট্যাটাস 1 | অবস্থা0 | চেক_সমষ্টি |
| Status3: reservedStatus2: echo intensity 0x00~0xFFStatus1: bit0 -- FPGA সিস্টেম স্থিতি; 1 সাধারণ 0 ব্যতিক্রমবিট1 -- লেজার লাইট আউটপুট অবস্থা; 1 হালকা আউটপুট 0 না lightbit2 -- প্রধান তরঙ্গ সনাক্তকরণ অবস্থা; 1 প্রধান তরঙ্গ 0 প্রধান তরঙ্গবিট 3 নেই -- ইকো সনাক্তকরণ অবস্থা; 1 echo 0 no echobit4 -- বায়াস সুইচ স্ট্যাটাস; 1 পক্ষপাত 0 বায়াস অফবিট5 -- পক্ষপাত আউটপুট অবস্থা; 1 বায়াস ভোল্টেজ স্বাভাবিক 0 বায়াস অস্বাভাবিকবিট6 -- তাপমাত্রার অবস্থা; 1 তাপমাত্রা স্বাভাবিক 0 তাপমাত্রা অস্বাভাবিক বিট7 -- হালকা আউটপুট বন্ধ অবস্থা; 1 বৈধ 0 invalidStatus0: bit0 -- 5v6 পাওয়ার স্থিতি; 1 সাধারণ 0 ব্যতিক্রম | ||||||||||
2.2 একক রেঞ্জিং
2.2.1 লেজার রেঞ্জিং মডিউলে পাঠান:
| বাইট | 0 | 1 | 2 | 3 | 4 | 5 |
| বর্ণনা করুন | 0xEE | 0x16 | 0x02 | 0x03 | 0x02 | 0x05 |
2.2.2 লেজার রেঞ্জিং মডিউল রিটার্ন:
| বাইট | 0 | 1 | 2 | 3 | 4 | 5 | 6 | 7 | 8 | 9 |
| বর্ণনা করুন | 0xEE | 0x16 | 0x06 | 0x03 | 0x02 | স্ট্যাটাস | রেঞ্জিং মান পূর্ণসংখ্যা উচ্চ 8 বিট | রেঞ্জিং মান পূর্ণসংখ্যা কম 8 বিট | রেঞ্জিং মান দশমিক স্থান | চেক_সমষ্টি |
| প্রথম / শেষ লক্ষ্যের রেঞ্জিং করার সময়: স্থিতি: 0x00 নির্দেশ করে যে রেঞ্জিং ফলাফল একটি একক লক্ষ্য; 0x01 নির্দেশ করে যে রেঞ্জিং ফলাফলে একটি সামনের লক্ষ্য রয়েছে; 0x02 নির্দেশ করে যে রেঞ্জিং ফলাফলে একটি পিছনের লক্ষ্য আছে; 0x03 সংরক্ষিত; 0x04 নির্দেশ করে যে রেঞ্জিং ফলাফল সীমার বাইরে; 0x05 সংরক্ষিত; মাল্টি-টার্গেট রেঞ্জের ক্ষেত্রে: Status_ bit3~0: 0x0 নির্দেশ করে যে রেঞ্জিং ফলাফলটি একটি একক লক্ষ্য; 0x1 নির্দেশ করে যে রেঞ্জিং ফলাফলে একটি সামনের লক্ষ্য রয়েছে; 0x2 নির্দেশ করে যে রেঞ্জিং ফলাফলে একটি পিছনের লক্ষ্য আছে; 0x3 নির্দেশ করে যে রেঞ্জিং ফলাফলের সামনের লক্ষ্য এবং পিছনের লক্ষ্য রয়েছে; 0x4 নির্দেশ করে যে রেঞ্জিং ফলাফল সীমার বাইরে; 0x5 সংরক্ষিত; Status_ bit7~4: 0x0 ~ 0xf বর্তমান দূরত্ব ফলাফল সংখ্যা নির্দেশ করে; মান পরিসীমা [0, N-1], লক্ষ্যের সংখ্যা 1 ≤ N ≤ 16; পরিসর মান = পরিসর মান পূর্ণসংখ্যা উচ্চ 8 বিট × 256 + পরিসর মান পূর্ণসংখ্যা কম 8 বিট + পরিসর মান দশমিক বিট × 0.1, ইউনিট m | ||||||||||
2.3 প্রথম / শেষ / একাধিক লক্ষ্য সেট করুন
2.3.1 লেজার রেঞ্জিং মডিউলে পাঠান:
| বাইট | 0 | 1 | 2 | 3 | 4 | 5 | 6 |
| বর্ণনা করুন | 0xEE | 0x16 | 0x03 (ডেটা দৈর্ঘ্য) | 0x03 | 0x03 | টার্গেট | চেক_সমষ্টি |
| টার্গেট: 0x01 প্রথম টার্গেট রেঞ্জিং সেট করুন; 0x02 সেট টার্মিনাল লক্ষ্য পরিসীমা; 0x03 সেট মাল্টি-টার্গেট রেঞ্জিং; | |||||||
2.3.2 লেজার রেঞ্জিং মডিউল রিটার্ন:
| বাইট | 0 | 1 | 2 | 3 | 4 | 5 |
| বর্ণনা করুন | 0xEE | 0x16 | 0x02 | 0x03 | 0x03 | 0x06 |
2.4 ক্রমাগত রেঞ্জিং
2.4.1 লেজার রেঞ্জিং মডিউলে পাঠান:
| বাইট | 0 | 1 | 2 | 3 | 4 | 5 |
| বর্ণনা করুন | 0xEE | 0x16 | 0x02 | 0x03 | 0x03 | 0x06 |
2.4.2 লেজার রেঞ্জিং মডিউল রিটার্ন:
| বাইট | 0 | 1 | 2 | 3 | 4 | 5 | 6 | 7 | 8 | 9 |
| বর্ণনা করুন | 0xEE | 0x16 | 0x06 | 0x03 | 0x04 | স্ট্যাটাস | রেঞ্জিং মান পূর্ণসংখ্যা উচ্চ 8 বিট | রেঞ্জিং মান পূর্ণসংখ্যা কম 8 বিট | রেঞ্জিং মান দশমিক স্থান | চেক_সমষ্টি |
| প্রথম এবং শেষ লক্ষ্যগুলির রেঞ্জিং করার সময়: স্থিতি: 0x00 নির্দেশ করে যে রেঞ্জিং ফলাফল একটি একক লক্ষ্য; 0x01 নির্দেশ করে যে রেঞ্জিং ফলাফলে একটি সামনের লক্ষ্য রয়েছে; 0x02 নির্দেশ করে যে রেঞ্জিং ফলাফলে একটি পিছনের লক্ষ্য আছে; 0x03 সংরক্ষিত; 0x04 নির্দেশ করে যে রেঞ্জিং ফলাফল সীমার বাইরে; 0x05 সংরক্ষিত; মাল্টি-টার্গেট রেঞ্জের ক্ষেত্রে: Status_ bit3~0: 0x0 নির্দেশ করে যে রেঞ্জিং ফলাফলটি একটি একক লক্ষ্য; 0x1 নির্দেশ করে যে রেঞ্জিং ফলাফলে একটি সামনের লক্ষ্য রয়েছে; 0x2 নির্দেশ করে যে রেঞ্জিং ফলাফলে একটি পিছনের লক্ষ্য আছে; 0x3 নির্দেশ করে যে রেঞ্জিং ফলাফলের সামনের লক্ষ্য এবং পিছনের লক্ষ্য রয়েছে; 0x4 নির্দেশ করে যে রেঞ্জিং ফলাফল সীমার বাইরে; 0x5 সংরক্ষিত; Status_ bit7~4: 0x0 ~ 0xf বর্তমান দূরত্ব ফলাফল সংখ্যা নির্দেশ করে; মান পরিসীমা [0, N-1], লক্ষ্য সংখ্যা 1 ≤ N ≤ 16; | ||||||||||
2.5 স্টপ রেঞ্জিং
2.5.1 লেজার রেঞ্জিং মডিউলে পাঠান:
| বাইট | 0 | 1 | 2 | 3 | 4 | 5 |
| বর্ণনা করুন | 0xEE | 0x16 | 0x02 | 0x03 | 0x05 | 0x08 |
2.5.2 লেজার রেঞ্জিং মডিউল রিটার্ন:
| বাইট | 0 | 1 | 2 | 3 | 4 | 5 |
| বর্ণনা করুন | 0xEE | 0x16 | 0x02 | 0x03 | 0x05 | 0x08 |
2.6 রেঞ্জিং অসঙ্গতি
লেজার রেঞ্জিং মডিউল রিটার্ন:
| বাইট | 0 | 1 | 2 | 3 | 4 | 5 | 6 | 7 | 8 | 9 | |
| বর্ণনা করুন | 0xEE | 0x16 | 0x06 | 0x03 | 0x06 | রিজার্ভ | রিজার্ভ | রিজার্ভ | স্ট্যাটাস 1 | চেক_সমষ্টি | |
| স্থিতি 1: bit0 -- FPGA সিস্টেমের অবস্থা; 1 সাধারণ 0 ব্যতিক্রম Bit1 -- লেজার লাইট আউটপুট অবস্থা; 1 লাইট আউটপুট 0 নো লাইট বিট2 -- প্রধান তরঙ্গ সনাক্তকরণ অবস্থা; 1 প্রধান তরঙ্গ 0 প্রধান তরঙ্গ নেই Bit3 -- ইকো সনাক্তকরণ অবস্থা; 1 echo 0 no echo Bit4 -- বায়াস সুইচ স্ট্যাটাস; Bit5 বন্ধ 0 পক্ষপাতের উপর 1 পক্ষপাত -- পক্ষপাত আউটপুট অবস্থা; 1 বায়াস ভোল্টেজ স্বাভাবিক 0 পক্ষপাত অস্বাভাবিক Bit6 -- তাপমাত্রার অবস্থা; 1 তাপমাত্রা স্বাভাবিক 0 অস্বাভাবিক তাপমাত্রা বিট7 -- হালকা আউটপুট বন্ধ অবস্থা; 1 বৈধ 0 অবৈধ এই নির্দেশটি শুধুমাত্র তখনই ফেরত দেওয়া হয় যখন স্ট্যাটাস1-এ bit0~7 অস্বাভাবিক হয়। | |||||||||||
2.7 লেজার রেঞ্জিং মডিউলের বড রেট সেট করুন
2.7.1 লেজার রেঞ্জিং মডিউলে পাঠান:
| বাইট | 0 | 1 | 2 | 3 | 4 | 5 | 6 | 7 | 8 | 9 |
| বর্ণনা করুন | 0xEE | 0x16 | 0x06 | 0x03 | 0xA0 | BaudHigh24 | BaudHigh16 | BaudLow8 | BaudLow0 | চেক_সমষ্টি |
2.7.2 লেজার রেঞ্জিং মডিউল রিটার্ন:
| বাইট | 0 | 1 | 2 | 3 | 4 | 5 | 6 | 7 | 8 | 9 |
| বর্ণনা করুন | 0xEE | 0x16 | 0x06 | 0x03 | 0xA0 | BaudHigh24 | BaudHigh16 | BaudLow8 | BaudLow0 | চেক_সমষ্টি |
2.8 একটানা রেঞ্জিং ফ্রিকোয়েন্সি সেট করুন
2.8.1 লেজার রেঞ্জিং মডিউলে পাঠান:
| বাইট | 0 | 1 | 2 | 3 | 4 | 5 | 6 | 7 |
| বর্ণনা করুন | 0xEE | 0x16 | 0x04 (ডেটা দৈর্ঘ্য) | 0x03 | 0x0A1 | ফ্রিকোয়েন্সি | সংখ্যা | চেক_সমষ্টি |
| ফ্রিকোয়েন্সি: 0x01~ 0x0A একক / ক্রমাগত রেঞ্জিং ফ্রিকোয়েন্সি সংখ্যা: 0x00 রিজার্ভ | ||||||||
2.8.2 লেজার রেঞ্জিং মডিউল রিটার্ন:
| বাইট | 0 | 1 | 2 | 3 | 4 | 5 |
| বর্ণনা করুন | 0xEE | 0x16 | 0x02 | 0x03 | 0xA1 | 0xA4 |
2.9 ন্যূনতম গেটিং দূরত্ব সেট করুন
2.9.1 লেজার রেঞ্জিং মডিউলে পাঠান:
| বাইট | 0 | 1 | 2 | 3 | 4 | 5 | 6 | 7 |
| বর্ণনা করুন | 0xEE | 0x16 | 0x04 (ডেটা দৈর্ঘ্য) | 0x03 | 0xA2 | DIS_H | DIS_L | চেক_সমষ্টি |
| DIS_H: দূরত্ব উচ্চ 8 bitsDIS_L: দূরত্ব কম 8 bitsDIS: 10~20000 সর্বনিম্ন গেটিং দূরত্ব পরিসীমা, M এ | ||||||||
2.9.2 লেজার রেঞ্জিং মডিউল রিটার্ন:
| বাইট | 0 | 1 | 2 | 3 | 4 | 5 | 6 | 7 |
| বর্ণনা করুন | 0xEE | 0x16 | 0x04 (ডেটা দৈর্ঘ্য) | 0x03 | 0xA2 | DIS_H | DIS_L | চেক_সমষ্টি |
| DIS_H: দূরত্ব উচ্চ 8 bitsDIS_L: দূরত্ব কম 8 bitsDIS: 10~20000 সর্বনিম্ন গেটিং দূরত্ব পরিসীমা, M এ | ||||||||
2.10 ন্যূনতম গেটিং দূরত্ব জিজ্ঞাসা করুন
2.10.1 লেজার রেঞ্জিং মডিউলে পাঠান:
| বাইট | 0 | 1 | 2 | 3 | 4 | 5 |
| বর্ণনা করুন | 0xEE | 0x16 | 0x02 | 0x03 | 0xA3 | 0xA6 |
2.10.2 লেজার রেঞ্জিং মডিউল রিটার্ন:
| বাইট | 0 | 1 | 2 | 3 | 4 | 5 | 6 | 7 |
| বর্ণনা করুন | 0xEE | 0x16 | 0x04 (ডেটা দৈর্ঘ্য) | 0x03 | 0xA3 | DIS_H | DIS_L | চেক_সমষ্টি |
| DIS_H: দূরত্ব উচ্চ 8 bitsDIS_L: দূরত্ব কম 8 bitsDIS: 10~20000 সর্বনিম্ন গেটিং দূরত্ব পরিসীমা, M এ | ||||||||
2.11 সর্বোচ্চ গেটিং দূরত্ব সেট করুন
2.11.1 লেজার রেঞ্জিং মডিউলে পাঠান:
| বাইট | 0 | 1 | 2 | 3 | 4 | 5 | 6 | 7 |
| বর্ণনা | 0xEE | 0x16 | 0x04 (ডেটা দৈর্ঘ্য) | 0x03 | 0xA4 | DIS_H | DIS_L | চেক_সমষ্টি |
| DIS_H: দূরত্ব উচ্চ 8 bitsDIS_L: দূরত্ব কম 8 bitsDIS: 10~20000 সর্বনিম্ন গেটিং দূরত্ব পরিসীমা, M এ | ||||||||
| বাইট | 0 | 1 | 2 | 3 | 4 | 5 | 6 | 7 |
| বর্ণনা | 0xEE | 0x16 | 0x04 (ডেটা দৈর্ঘ্য) | 0x03 | 0xA4 | DIS_H | DIS_L | চেক_সমষ্টি |
| DIS_H: দূরত্ব উচ্চ 8 bitsDIS_L: দূরত্ব কম 8 bitsDIS: 10~20000 সর্বনিম্ন গেটিং দূরত্ব পরিসীমা, M এ | ||||||||
2.12 সর্বোচ্চ গেটিং দূরত্ব জিজ্ঞাসা করুন
2.12.1 লেজার রেঞ্জিং মডিউলে পাঠান:
| বাইট | 0 | 1 | 2 | 3 | 4 | 5 |
| বর্ণনা | 0xEE | 0x16 | 0x02 | 0x03 | 0xA5 | 0xA8 |
| বাইট | 0 | 1 | 2 | 3 | 4 | 5 | 6 | 7 |
| বর্ণনা | 0xEE | 0x16 | 0x04 (ডেটা দৈর্ঘ্য) | 0x03 | 0xA5 | DIS_H | DIS_L | চেক_সমষ্টি |
| DIS_H: দূরত্ব উচ্চ 8 bitsDIS_L: দূরত্ব কম 8 bitsDIS: 10~20000 সর্বনিম্ন গেটিং দূরত্ব পরিসীমা, M এ | ||||||||
2.13 FPGA সফ্টওয়্যার সংস্করণ নম্বর জিজ্ঞাসা করুন
2.13.1 লেজার রেঞ্জিং মডিউলে পাঠান:
| বাইট | 0 | 1 | 2 | 3 | 4 | 5 |
| বর্ণনা | 0xEE | 0x16 | 0x02 | 0x03 | 0xA6 | 0xA9 |
2.13.2 লেজার রেঞ্জিং মডিউল রিটার্ন:
| বাইট | 0 | 1 | 2 | 3 | 4 | 5 | 6 | 7 | 8 | 9 |
| বর্ণনা | 0xEE | 0x16 | 0x06 | 0x03 | 0xA6 | সংস্করণ | তারিখ | MonYear | লেখক | চেক_সমষ্টি |
| সংস্করণ: bit7~bit4 প্রধান সংস্করণ সংখ্যা(1~15) bit3~bit0 ক্ষুদ্র সংস্করণ সংখ্যা(0~15)উদাহরণস্বরূপ: 0x10——V1.0Data: Date(1~31)Monyear: bit7~bit4 month) (1~12)বিশেষ) year)5) bitres) নির্দিষ্ট ~5 বিট থেকে বিট 2020-2035লেখক: 0x6c cliu; 0x5d dwu 0xcc সাইচেং | ||||||||||
2.14 প্রশ্ন MCU সফ্টওয়্যার সংস্করণ নম্বর
2.14.1 লেজার রেঞ্জিং মডিউলে পাঠান:
| বাইট | 0 | 1 | 2 | 3 | 4 | 5 |
| বর্ণনা | 0xEE | 0x16 | 0x02 | 0x03 | 0xA7 | 0xAA |
| বাইট | 0 | 1 | 2 | 3 | 4 | 5 | 6 | 7 | 8 | 9 |
| বর্ণনা | 0xEE | 0x16 | 0x06 | 0x03 | 0xA7 | সংস্করণ | তারিখ | MonYear | লেখক | চেক_সমষ্টি |
| সংস্করণ: bit7~bit4 প্রধান সংস্করণ সংখ্যা(1~15)bit3~bit0 ক্ষুদ্র সংস্করণ সংখ্যা(0~15)যেমন: 0x10——V1.0Data: Date(1~31)MonYear: bit7~bit4 month((1~12)Bit3) year)A bitres)A bit3), bit3)Bit' 2020-2035লেখক: 0x00 jyang 0xf1 llfu 0x01 zqxiong | ||||||||||
2.15 কোয়েরি হার্ডওয়্যার সংস্করণ নম্বর
2.15.1 লেজার রেঞ্জিং মডিউলে পাঠান:
| বাইট | 0 | 1 | 2 | 3 | 4 | 5 |
| বর্ণনা | 0xEE | 0x16 | 0x02 | 0x03 | 0xA8 | 0xAB |
2.15.2 লেজার রেঞ্জিং মডিউল রিটার্ন:
| বাইট | 0 | 1 | 2 | 3 | 4 | 5 | 6 | 7 | 8 | 9 | |
| বর্ণনা | 0xEE | 0x16 | 0x06 | 0x03 | 0xA8 | এমবিভিএস | সিটিভিএস | এপিডিভিএস | এলডিভিএস | চেক_সমষ্টি | |
| এমবিভিএস: মাদারবোর্ড হার্ডওয়্যার সংস্করণ নম্বরসিটিভিএস: কন্ট্রোল বোর্ড হার্ডওয়্যার সংস্করণ নম্বরএপিডিভিএস: সনাক্তকরণ বোর্ড হার্ডওয়্যার সংস্করণ নম্বরএলডিভিএস: ড্রাইভার বোর্ড হার্ডওয়্যার সংস্করণ নম্বর বিট7 ~ বিট4 প্রধান সংস্করণ নম্বর (1 ~ 15) বিট3 ~ বিট0 ছোট সংস্করণ নম্বর (0 ~ 15) যেমন—-V110। 0 | |||||||||||
2.16 কোয়েরি Sn নম্বর
2.16.1 লেজার রেঞ্জিং মডিউলে পাঠান:
| বাইট | 0 | 1 | 2 | 3 | 4 | 5 |
| বর্ণনা | 0xEE | 0x16 | 0x02 | 0x03 | 0xA9 | 0xAC |
2.16.2 লেজার রেঞ্জিং মডিউল রিটার্ন:
| বাইট | 0 | 1 | 2 | 3 | 4 | 5 | 6 | 7 | 8 |
| বর্ণনা | 0xEE | 0x16 | 0x05 | 0x03 | 0xA9 | MonYear | Num_H | Num_L | চেক_সমষ্টি |
| Monyear: bit7 ~ bit4 মাস (1 ~ 12) Bit3 ~ bit0 বছর (0 ~ 15), 2020 ~ 2035Num_ H: সংখ্যাটি 8 সংখ্যার highNum_ 50: NoNum এর নিম্ন 8 সংখ্যা: 1 ~ 999 না | |||||||||
2.17 আলো আউটপুট মোট বার
2.17.1 লেজার রেঞ্জিং মডিউলে পাঠান:
| বাইট | 0 | 1 | 2 | 3 | 4 | 5 |
| বর্ণনা | 0xEE | 0x16 | 0x02 | 0x03 | 0x90 | 0x93 |
| বাইট | 0 | 1 | 2 | 3 | 4 | 5 | 6 | 7 | 8 |
| বর্ণনা | 0xEE | 0x16 | 0x05 | 0x03 | 0x90 | PNUM3 | PNUM2 | PNUM1 | চেক_সমষ্টি |
| PNUM3: মোট আলো আউটপুট সময়, bit23 ~ bit16PNUM2: মোট আলো আউটপুট সময়, bit15 ~ bit8PNUM1: মোট আলো আউটপুট সময়, bit7 ~ bit0 | |||||||||
2.18 এই সময় পাওয়ার অন এবং লাইট আউট করার জন্য প্রশ্ন করুন
2.18.1 লেজার রেঞ্জিং মডিউলে পাঠান:
| বাইট | 0 | 1 | 2 | 3 | 4 | 5 |
| বর্ণনা | 0xEE | 0x16 | 0x02 | 0x03 | 0x91 | 0x94 |
2.18.2 লেজার রেঞ্জিং মডিউল রিটার্ন:
| বাইট | 0 | 1 | 2 | 3 | 4 | 5 | 6 | 7 | 8 |
| বর্ণনা | 0xEE | 0x16 | 0x05 | 0x03 | 0x91 | PNUM3 | PNUM2 | PNUM1 | চেক_সমষ্টি |
| PNUM3: মোট আলো আউটপুট সময়, bit23 ~ bit16PNUM2: মোট আলো আউটপুট সময়, bit15 ~ bit8PNUM1: মোট আলো আউটপুট সময়, bit7 ~ bit0 | |||||||||
3 নির্দেশের উদাহরণ
| 3.1 সরঞ্জাম স্ব-পরিদর্শন পাঠান: ee 16 02 03 01 04RECV: ee 16 06 03 01 ff 00 f7 ff f9 | 3.5 প্রথম লক্ষ্য সেট করুন পাঠান: ee 16 03 03 03 01 07RECV: ee 16 02 03 03 06 |
| 3.2 একক রেঞ্জিংSEND: ee 16 02 03 02 05RECV: ee 16 06 03 02 04 00 00 00 09 | 3.6 শেষ লক্ষ্য সেট করুনSEND: ee 16 03 03 02 08 RECV: ee 16 02 03 03 06 |
| 3.3 ক্রমাগত রেঞ্জিং পাঠান: ee 16 02 03 04 07RECV: ee 16 06 03 04 04 00 00 0bRECV: ee 16 06 03 04 04 00 00 00: 0 বি | 3.7 একাধিক লক্ষ্য সেট করুনSEND: ee 16 03 03 03 09 RECV: ee 16 02 03 03 06 |
| 3.4 স্টপ রেঞ্জিং পাঠান: 16 02 03 05 08RECV: 16 02 03 05 08-এর জন্য | 3.8 একটানা রেঞ্জিং ফ্রিকোয়েন্সি সেট করুন 1HzSEND: ee 16 04 03 a1 01 00 a5RECV: ee 16 02 03 a1 a4 |
| 3.9 একটানা রেঞ্জিং ফ্রিকোয়েন্সি সেট করুন 5HzSEND: ee 16 04 03 a1 05 00 a9RECV: ee 16 02 03 a1 a4 |
1. অপারেটরদের নিরাপদে এবং সঠিকভাবে STA-AM30X ক্ষুদ্র লেজার রেঞ্জফাইন্ডার পণ্যের বিভিন্ন ফাংশন ব্যবহার করতে সক্ষম করার জন্য, এই অপারেশন এবং রক্ষণাবেক্ষণ ম্যানুয়ালটি এর অপারেশন এবং রক্ষণাবেক্ষণের নির্দেশাবলী প্রদান করে। এটি এই পণ্যের অপারেটর এবং রক্ষণাবেক্ষণ কর্মীদের জন্য প্রযোজ্য।
STA-AM30X মিনিয়েচার লেজার রেঞ্জফাইন্ডার (এর পরে লেজার রেঞ্জফাইন্ডার হিসাবে উল্লেখ করা হয়েছে) হল একটি নির্ভুল অপটোইলেক্ট্রনিক পণ্য যা পরিমাপ করা লক্ষ্যের দিকে লেজার নির্গত করে এবং লেজারের ফ্লাইট সময়ের উপর ভিত্তি করে দূরত্বের তথ্য গণনা করে। এই লেজার রেঞ্জফাইন্ডার Uart (TTL_3.3V) কমিউনিকেশন ইন্টারফেসের মাধ্যমে যোগাযোগ অর্জন করে, এবং অসামান্য কর্মক্ষমতা এবং সহজ অপারেশন দ্বারা চিহ্নিত করা হয়। এই রেঞ্জফাইন্ডারের লেজারটি মানুষের চোখের সরাসরি এক্সপোজার থেকে নিষিদ্ধ।
2.1 উপাদান সুপারিশ
অপটিক্যাল গ্লাস H-K9L অপটিক্যাল উইন্ডোর জন্য উপাদান হিসাবে সুপারিশ করা হয়. H-K9L হল সবচেয়ে সাধারণ বর্ণহীন অপটিক্যাল গ্লাস, 300nm থেকে 2100nm লেজার পরিসরের জন্য উপযুক্ত। এটির উচ্চ ব্যয়-কর্মক্ষমতা অনুপাত এবং উচ্চতর শারীরিক বৈশিষ্ট্য রয়েছে।
2.2 প্রক্রিয়াকরণের সুপারিশ
অপটিক্যাল উইন্ডোর কীলক কোণ সহনশীলতা যতটা সম্ভব ছোট হওয়া উচিত। এটা বাঞ্ছনীয় যে কীলক কোণ সহনশীলতা ≤ 3' (সহনশীলতা গ্রেড ≤ স্তর 7);
অপটিক্যাল উইন্ডোর অপটিক্যাল পৃষ্ঠ যতটা সম্ভব মসৃণ হওয়া উচিত। এটি সুপারিশ করা হয় যে প্রোফাইলের (Ra) গাণিতিক গড় বিচ্যুতি হল 0.012।
2.3 আবরণ সুপারিশ
যদি পুরো সিস্টেম ইন্টিগ্রেশনে একটি উইন্ডো লেন্স ব্যবহার করা হয়, তবে এটি সুপারিশ করা হয় যে লেন্সটির 1535±20nm তরঙ্গদৈর্ঘ্য ব্যান্ডের জন্য 98%> ট্রান্সমিট্যান্স থাকে যার পুরুত্ব ≤2mm। লেন্স এবং মডিউলের শেষ মুখের মধ্যে দূরত্ব ≤3 মিমি, ইয়াও কোণ ≤1.5° এবং পিচ কোণ ≤30° হওয়া উচিত।
1535nm লেজার রেঞ্জফাইন্ডারের অপটিক্যাল উইন্ডোর জন্য, 1525nm থেকে 1545nm পরিসরে ≥ 99% ট্রান্সমিট্যান্স সহ একটি অ্যান্টি-রিফ্লেক্টিভ ফিল্ম কোট করার পরামর্শ দেওয়া হয়।
পণ্যের নির্দিষ্ট ব্যবহারের পরিবেশ অনুসারে, অন্যান্য প্রতিরক্ষামূলক ফিল্ম যেমন একটি হাইড্রোফোবিক ফিল্ম বা একটি হার্ড ফিল্ম অপটিক্যাল উইন্ডোর বাইরের পৃষ্ঠে আবরণের জন্য অতিরিক্তভাবে নির্বাচন করা যেতে পারে। অবশিষ্ট সূচকগুলির জন্য, MIL-STD-810G দেখুন এবং ট্রান্সমিট্যান্স ≥ 97% হওয়া উচিত৷
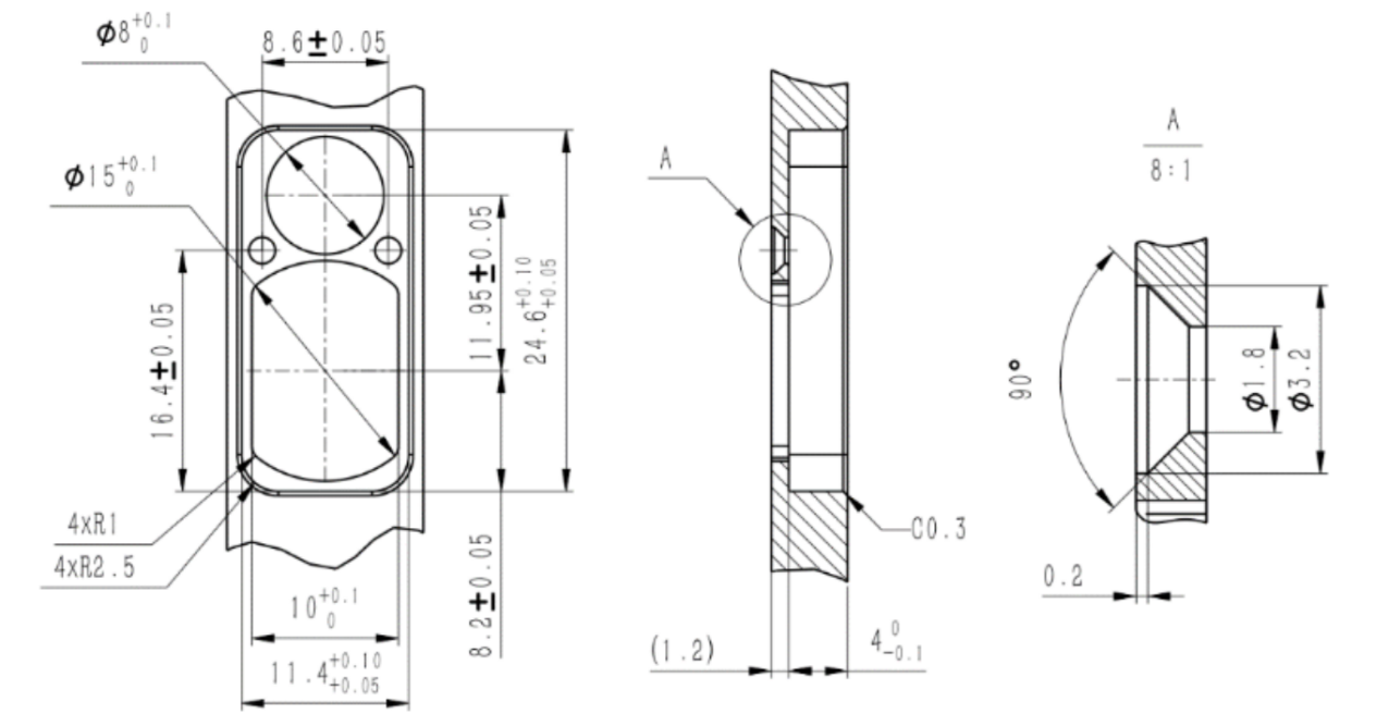
2.4 অপটিক্যাল উইন্ডোর আকার এবং ব্যবহারের জন্য সুপারিশ
অপটিক্যাল উইন্ডোর কার্যকরী অ্যাপারচার বিভিন্ন পণ্যের উপর নির্ভর করে। এর বাহ্যিক মাত্রা নিশ্চিত করতে হবে যে অপটিক্যাল উইন্ডোর কার্যকরী অ্যাপারচার - অপটিক্যাল উইন্ডোর বাইরের ব্যাস ≥ 2 মিমি, এবং রেঞ্জফাইন্ডার অ্যান্টেনার বাইরের ব্যাস - অপটিক্যাল উইন্ডোর কার্যকরী অ্যাপারচারের প্রক্ষিপ্ত মাত্রা ≥ 1.5 মিমি। পরিকল্পিত চিত্রটি নিম্নরূপ দেখানো হয়েছে। যেহেতু অপটিক্যাল উইন্ডোতে লেজারের একটি নির্দিষ্ট শোষণ রয়েছে, তাই এটি বাঞ্ছনীয় যে অপটিক্যাল উইন্ডোর পুরুত্ব বাহ্যিক মাত্রা অনুযায়ী 2 থেকে 4 মিমি এর মধ্যে নিয়ন্ত্রণ করা উচিত।
যেহেতু অপটিক্যাল উইন্ডোর একটি উচ্চ ট্রান্সমিট্যান্স আছে, তাই এটি সুপারিশ করা হয় যে নির্গত অপটিক্যাল অক্ষ এবং অপটিক্যাল উইন্ডোর স্বাভাবিকের মধ্যে অক্ষীয় বিচ্যুতি 0° থেকে 2° এর মধ্যে নিয়ন্ত্রণ করা উচিত। অপটিক্যাল উইন্ডো এবং দুটি লেন্স ব্যারেলের অবস্থানের পরিকল্পিত চিত্রটি নিম্নরূপ দেখানো হয়েছে। একই সময়ে, অপটিক্যাল উইন্ডো এবং রেঞ্জফাইন্ডারের মধ্যে বাতাসের ফাঁক যতটা সম্ভব ছোট হওয়া উচিত। চিত্র 4 দুটি উপায়ে অপটিক্যাল উইন্ডোর স্থাপনের পরিকল্পিত চিত্র দেখায়।
অপটিক্যাল উইন্ডো y2 এর কার্যকরী অ্যাপারচার - অপটিক্যাল উইন্ডোর বাইরের ব্যাস y1>2mm
রেঞ্জফাইন্ডার অ্যান্টেনার বাইরের ব্যাস3- অপটিক্যাল উইন্ডো y2 এর কার্যকরী অ্যাপারচারের প্রজেকশন সাইজ,>1.5 মিমি
অপটিক্যাল উইন্ডো এবং রেঞ্জফাইন্ডারের মধ্যে এয়ার গ্যাপ d যতটা সম্ভব ছোট হওয়া উচিত অপটিক্যাল উইন্ডো x2 এর কার্যকরী অ্যাপারচার - অপটিক্যাল উইন্ডোর বাইরের ব্যাস x1>2 মিমি
রেঞ্জফাইন্ডার অ্যান্টেনার বাইরের ব্যাস x3- অপটিক্যাল উইন্ডো x2 এর কার্যকরী অ্যাপারচারের প্রজেকশন আকার,>1.5 মিমি
অপটিক্যাল উইন্ডো এবং রেঞ্জফাইন্ডারের মধ্যে বাতাসের ব্যবধান যতটা সম্ভব ছোট হওয়া উচিত
অপটিক্যাল উইন্ডোর বাহ্যিক মাত্রা এবং স্থাপনের দুটি উপায়ের পরিকল্পিত চিত্র
3. অপারেশন আপনি এই সিস্টেমের সমস্ত ফাংশন সম্পূর্ণরূপে বুঝতে এবং ইনস্টলেশন, অপারেশন এবং রক্ষণাবেক্ষণ পদ্ধতি সঠিকভাবে আয়ত্ত করার জন্য, এই সিস্টেমটি ইনস্টল এবং ব্যবহার করার আগে দয়া করে এই অধ্যায়ের বিষয়বস্তুটি সাবধানে পড়ুন।
3.1 পাওয়ার-অন অপারেশন
3.1.1 পাওয়ার-অন করার আগে
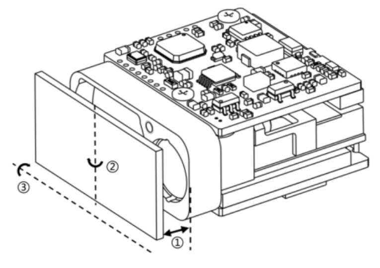
লেজার রেঞ্জফাইন্ডার, ডিবাগিং কেবল, ডিসি পাওয়ার সাপ্লাই এবং হোস্ট কম্পিউটারকে চিত্রে দেখানো হিসাবে সংযুক্ত করুন।
সংযোগের পরিকল্পিত চিত্র
3.1.2 পাওয়ার-অন
পাওয়ার-অন অপারেশন: পাওয়ার সাপ্লাই সংযোগ করুন।
3.2 পাওয়ার-অফ অপারেশন
3.2.1 পাওয়ার-অফের আগে
পাওয়ার অফ করার আগে, এটি নিশ্চিত করা উচিত যে প্রতিটি পণ্যের কাজের প্রক্রিয়া এবং কাজগুলি শেষ অবস্থায় রয়েছে এবং প্রোগ্রামটি প্রস্থান করা হয়েছে।
3.2.2 পাওয়ার-অফ
পাওয়ার বন্ধ করার ধাপ: পাওয়ার সাপ্লাই ডিসকানেক্ট করুন।
3.3 অপারেশন
3.3.1 রেঞ্জিং মোড
রেঞ্জিং মোডের অপারেশন পদ্ধতি:
ক) লেজার রেঞ্জফাইন্ডারে "সিঙ্গেল রেঞ্জিং" কমান্ডটি পাঠান। লেজার রেঞ্জফাইন্ডার একক রেঞ্জিং করবে এবং রেঞ্জিং স্ট্যাটাস এবং দূরত্বের মান রিপোর্ট করবে।
b) লেজার রেঞ্জফাইন্ডারে "1Hz Ranging" কমান্ডটি পাঠান। লেজার রেঞ্জফাইন্ডার প্রতি সেকেন্ডে একবার রেঞ্জিং করবে এবং রেঞ্জিং স্ট্যাটাস এবং দূরত্বের মান রিপোর্ট করবে।
গ) রেঞ্জিং বন্ধ করতে "স্টপ রেঞ্জিং" কমান্ডটি পাঠান।
d) লেজার রেঞ্জফাইন্ডারে "5Hz Ranging" কমান্ডটি পাঠান। লেজার রেঞ্জ ফাইন্ডার প্রতি সেকেন্ডে পাঁচবার রেঞ্জিং করবে এবং রেঞ্জিং স্ট্যাটাস এবং দূরত্বের মান রিপোর্ট করবে।
e) রেঞ্জিং বন্ধ করতে "স্টপ রেঞ্জিং" কমান্ডটি পাঠান।
f) লেজার রেঞ্জফাইন্ডারে "10Hz Ranging" কমান্ডটি পাঠান। লেজার রেঞ্জফাইন্ডার প্রতি সেকেন্ডে দশ বার পরিসর করবে এবং রেঞ্জিং স্ট্যাটাস এবং দূরত্বের মান রিপোর্ট করবে।
g) রেঞ্জিং বন্ধ করতে "স্টপ রেঞ্জিং" কমান্ডটি পাঠান।
3.3.2 দূরত্ব গেটিং সেটিং
দূরত্ব গেটিং মানে সীমাবদ্ধ ক্ষমতা সীমার মধ্যে গেটিং দূরত্বের একটি বিভাগ (হেক্সাডেসিমেলে উপস্থাপিত) সেট করা। গেটিং মানের চেয়ে কম লক্ষ্য দূরত্বের তথ্য ফেরত পাঠানো হবে না, এবং পরিমাপের সীমার মধ্যে গেটিং মানের চেয়ে বেশি রেঞ্জিং মান কার্যকরী রেঞ্জিং মান।
সেটিং প্রয়োজন হলে, অপারেশন পদ্ধতি নিম্নরূপ:
ক) লেজার রেঞ্জফাইন্ডারে "গেটিং ভ্যালু সেটিং" কমান্ডটি পাঠান।
লেজার রেঞ্জফাইন্ডারে "রেঞ্জিং" কমান্ডটি পাঠান। লেজার রেঞ্জফাইন্ডার রেঞ্জিং সঞ্চালন করবে, প্রেরিত-ব্যাক দূরত্বের মান দূরত্ব গেটিং মানের চেয়ে বেশি কিনা তা নির্ধারণ করবে এবং তারপর রেঞ্জিং ফলাফলের প্রতিবেদন করবে।
গ) রেঞ্জিং অপারেশন বন্ধ করতে "স্টপ রেঞ্জিং" কমান্ডটি পাঠান। দূরত্ব গেটিং ফাংশন প্রয়োজন না হলে, প্রাথমিক সেটিংস ম্যানুয়ালি পুনরুদ্ধার করা প্রয়োজন (গেটিং মান 0 এ সেট করুন)।
3.3.3 স্ব-চেক মোড
স্ব-পরীক্ষার অপারেশন পদ্ধতি:
ক) লেজার রেঞ্জফাইন্ডারে "সেলফ-চেক ইনকোয়ারি" নির্দেশনা পাঠান। লেজার রেঞ্জফাইন্ডার একটি স্ব-পরীক্ষা করা শুরু করে এবং বর্তমান পরিবেষ্টিত তাপমাত্রা এবং কাজের অবস্থার মতো তথ্য ফেরত পাঠায়।
4. পরিদর্শন এবং রক্ষণাবেক্ষণ
4.1 সাধারণ পরিদর্শন
ভিজ্যুয়াল পরিদর্শন এবং পাওয়ার-অন পরিদর্শন করা উচিত যখন পণ্যটি প্রথমবার ব্যবহার করা হয় এবং রিসোর্স মডিউল প্রতিস্থাপনের পরে। সাধারণ ব্যবহারের পণ্যগুলির জন্য, ব্যবহারের আগে শুধুমাত্র পাওয়ার-অন পরিদর্শন প্রয়োজন।
4.1.1 ভিজ্যুয়াল পরিদর্শন
চাক্ষুষ পরিদর্শনের পদক্ষেপগুলি নিম্নরূপ:
ক) পণ্যের চেহারা স্বাভাবিক কিনা তা পরীক্ষা করুন;
খ) তারের সংযোগে কোন ত্রুটি আছে কিনা তা পরীক্ষা করুন এবং সংযোগটি দৃঢ় হওয়া উচিত।
4.1.2 পাওয়ার-অন ইন্সপেকশন
পাওয়ার-অন পরিদর্শনের ধাপগুলি নিম্নরূপ:
ক) 3.1-এর ধাপ অনুযায়ী পাওয়ার-অন অপারেশন সম্পূর্ণ করুন;
খ) স্ব-পরীক্ষা মডিউল শুরু করুন;
গ) পরিদর্শন শেষ হওয়ার পরে, 3.2-এর ধাপ অনুযায়ী পাওয়ার-অফ অপারেশনটি সম্পূর্ণ করুন।
4.2 নিয়মিত রক্ষণাবেক্ষণ
লেজার রেঞ্জফাইন্ডারের স্বাভাবিক কাজের অবস্থার অধীনে রক্ষণাবেক্ষণের প্রয়োজন নেই। রক্ষণাবেক্ষণ প্রয়োজন যদি এটি ধুলো-মুক্ত পরিবেশে এক বছরের বেশি সময় ধরে সংরক্ষণ করা হয়। রক্ষণাবেক্ষণ বিষয়বস্তু অন্তর্ভুক্ত:
4.2.1 সাধারণ পরিদর্শন
যখন পণ্যটি সক্রিয় না হয় তখন তার একটি সাধারণ পরিদর্শন করুন। ধাপগুলো নিম্নরূপ:
ক) পণ্যের সমস্ত চিহ্ন এবং নম্বর এবং টেস্ট ক্যাবল প্লাগ (সকেট) সঠিক এবং পরিষ্কার হওয়া উচিত;
খ) প্যানেলের সমস্ত ধরণের স্ক্রু শক্ত করা উচিত;
গ) এটি নিশ্চিত করা উচিত যে কোনও সংযুক্তি যেমন হালকা দাগ, পকমার্ক, জলের দাগ, ছাঁচ, আঙুলের ছাপ, ধূলিকণা, ইত্যাদি এবং ফাটল নেই যা দৃশ্যত পণ্যের অপটিক্যাল গ্লাসে স্বাভাবিক পর্যবেক্ষণে বাধা দেয়।
4.2.2 পাওয়ার-অন ইন্সপেকশন
যখন এটি চালিত হয় তখন লেজার রেঞ্জফাইন্ডারের একটি ব্যাপক পরিদর্শন এবং রক্ষণাবেক্ষণ পরিচালনা করুন। বিষয়বস্তু অন্তর্ভুক্ত:
ক) ক্রমানুসারে পণ্যের শক্তি চালু করুন;
b) 3.1-এর ধাপ অনুযায়ী পাওয়ার-অন অপারেশন সম্পূর্ণ করুন;
গ) পণ্য স্ব-পরীক্ষা মডিউল শুরু করুন এবং পণ্য স্ব-পরীক্ষা সম্পূর্ণ করুন;
d) 3.2-এর ধাপ অনুযায়ী পাওয়ার-অফ অপারেশন সম্পূর্ণ করুন।
5. ত্রুটি লক্ষণ এবং সমস্যা সমাধানের পদ্ধতি বিশ্লেষণ
লেজার রেঞ্জফাইন্ডার একটি নির্ভুল পণ্য। একটি ত্রুটি দেখা দিলে, ত্রুটি বিশ্লেষণ, অবস্থান এবং মেরামতের জন্য পুরো ডিভাইসটিকে কারখানায় ফেরত দিতে হবে। স্ব-মেরামত অনুমোদিত নয়।
সাধারণ ত্রুটি লক্ষণ এবং সমস্যা সমাধানের পদ্ধতিগুলি নিম্নলিখিত টেবিলে দেখানো হয়েছে।
সাধারণ ত্রুটির লক্ষণ এবং সমস্যা সমাধানের পদ্ধতি
| ফল্ট লক্ষণ | সম্ভাব্য কারণ | পরিদর্শন পদ্ধতি | সমস্যা সমাধানের জন্য ব্যবস্থা |
| পণ্য স্বাভাবিকভাবে চালিত করা যাবে না. | ক) পাওয়ার সাপ্লাই এবং সংযোগের তারের ত্রুটি৷ খ) সার্কিটের ত্রুটি৷ | পাওয়ার সাপ্লাই এবং সংযোগ তার চেক করুন। | ক) পাওয়ার সাপ্লাই বা সংযোগ কেবল প্রতিস্থাপন করুন। খ) সার্কিট ত্রুটির ক্ষেত্রে, সমস্যা সমাধানে সহায়তার জন্য প্রস্তুতকারকের সাথে যোগাযোগ করুন। |
| যোগাযোগের তথ্য ফেরত দেওয়া যাবে না। | ক) সংযোগ কেবলের ত্রুটি) অস্বাভাবিক বিদ্যুৎ সরবরাহ গ) লেজার রেঞ্জফাইন্ডারের যোগাযোগের ত্রুটি | ক) সংযোগ তার স্বাভাবিক কিনা তা পরীক্ষা করুন। খ) বিদ্যুৎ সরবরাহ স্বাভাবিক আছে কিনা তা পরীক্ষা করুন। | ক) সংযোগের তার এবং পাওয়ার সাপ্লাই প্রতিস্থাপন করুন। খ) যোগাযোগের সমস্যার জন্য, তাদের সমাধানে সহায়তার জন্য প্রস্তুতকারকের সাথে যোগাযোগ করুন। |
6. প্যাকেজিং, পরিবহন এবং সঞ্চয়স্থানের জন্য প্রয়োজনীয়তা
6.1 প্যাকেজিং
যে পণ্যগুলিকে সীলমুক্ত করা হয়েছে এবং পুনরায় স্টক করা দরকার, সেগুলি মূল প্যাকেজিং অনুসারে প্যাকেজ করা উচিত। যখন পণ্যগুলি কারখানায় ফেরত দিতে হবে, তখন আসল প্যাকেজিং যতটা সম্ভব ব্যবহার করা উচিত। যখন অন্যান্য ধরণের প্যাকেজিং ব্যবহার করা হয়, তখন এটি পণ্যের কার্যকারিতা হ্রাস বা পণ্যগুলির ক্ষতির কারণ হওয়া উচিত নয়।
6.2 পরিবহন
যে পণ্যগুলি পুনরায় প্যাক করা হয়েছে সেগুলি অটোমোবাইল, ট্রেন, বিমান, জাহাজ ইত্যাদির মাধ্যমে পরিবহন করা যেতে পারে৷ পরিবহনের সময়, প্যাকেজ করা আইটেমগুলিকে পরিবহনের উপায়ে স্থির করা উচিত যাতে প্রভাব, রুক্ষ হ্যান্ডলিং এবং বৃষ্টি ও তুষারপাতের মতো ঘটনা এড়াতে হয়৷ সড়ক পরিবহন এবং রেল পরিবহন পরিবেশের জন্য, MIL-STD-810G দেখুন।
Gränssnittstyp: UART (TTL 3.3V)
পুনরায় প্যাক করা পণ্যগুলি বন্যের খোলা বাতাসে সংরক্ষণ করা উচিত নয়। এগুলিকে 0 ℃ থেকে +30 ℃ এর স্টোরেজ তাপমাত্রা সহ একটি গুদামে সংরক্ষণ করা উচিত, আপেক্ষিক আর্দ্রতা 80% এর বেশি নয়, ক্ষয়কারী পদার্থের ক্ষয়, শক্তিশালী যান্ত্রিক কম্পন এবং প্রভাব এবং শক্তিশালী চৌম্বক ক্ষেত্র থেকে মুক্ত।
এই পণ্যটি নিরাপদে ব্যবহার করার জন্য, পণ্যটি পরিচালনা করার আগে দয়া করে এই নির্দেশিকা ম্যানুয়ালটি সাবধানে পড়ুন।
l এই লেজার রেঞ্জফাইন্ডার একটি নির্ভুল অপটিক্যাল এবং যান্ত্রিক পণ্য। প্রবিধান লঙ্ঘন করে এটি পরিচালনা করলে বিপজ্জনক লেজারের আঘাত হতে পারে। লেজার রেঞ্জফাইন্ডারের কোনও অংশ খুলবেন না বা সামঞ্জস্য করবেন না এবং নিজের দ্বারা লেজার রেঞ্জফাইন্ডারের কার্যকারিতা মেরামত বা সামঞ্জস্য করার চেষ্টা করবেন না।
l ইলেক্ট্রোস্ট্যাটিক সুরক্ষায় মনোযোগ দিন: লেজার রেঞ্জফাইন্ডারের ইলেকট্রনিক উপাদানগুলি ইলেক্ট্রোস্ট্যাটিক স্রাবের প্রতি সংবেদনশীল। প্রতিরক্ষামূলক ব্যবস্থা ছাড়া কোনো ইলেকট্রনিক ডিভাইস স্পর্শ করবেন না।
l শুধুমাত্র নির্দিষ্ট ভোল্টেজ এবং পাওয়ার রেঞ্জের মধ্যে অপারেশনের জন্য লেজার রেঞ্জফাইন্ডারের পাওয়ার চালু করুন।
l অপটিক্যাল লেন্সগুলিকে আঙুল বা শক্ত বস্তু দিয়ে স্পর্শ করা নিষিদ্ধ (তেল দূষণ বা লেন্সের আঁচড় রোধ করতে)।
l খুব কাছাকাছি দূরত্বে উচ্চ-প্রতিফলিত লক্ষ্যগুলি পরিমাপ করা নিষিদ্ধ (ডিটেক্টরের মূল উপাদানগুলির ক্ষতি রোধ করার জন্য, ইত্যাদি)।
l অ-নির্দিষ্ট অবস্থার অধীনে লেজার রেঞ্জফাইন্ডার সংরক্ষণ করা নিষিদ্ধ (যেমন একটি অত্যন্ত দূষিত পরিবেশ, স্টোরেজ তাপমাত্রার সীমা অতিক্রম করা ইত্যাদি)।
l লেজার রেঞ্জফাইন্ডারের জন্য শক্তিশালী যান্ত্রিক প্রভাব (কম্পন, প্রভাব, ড্রপিং, ইত্যাদি) এর শিকার হওয়া নিষিদ্ধ।
OEM/ODM 1-90km LRF মডিউল
Shenzhen Jiguang প্রযুক্তি কোং, লি
ইমেইল: sales@jioptics.com
ওয়েবসাইট:www.jioptics.com
ঠিকানা: 2017 লংচেং অ্যাভিনিউ, লংগ্যাং জেলা, শেনজেন